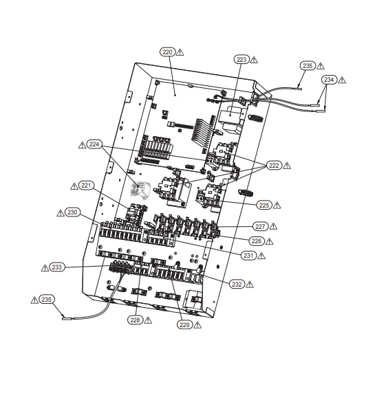
PCB
Ref: 3026V054

Dispo 1 semaine
460,48 € TTC

Emplacement: 220

Voir toutes les pièces de HWS-1404XWHM3-E
Pièces climatisations TOSHIBA