Connexion
Espace pro
À propos
Boutique
Contact
Espace pro
Connexion
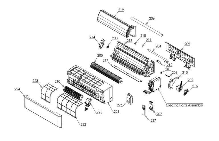
PCB
Ref: 43T6V314
Dispo 1 semaine
220,15 €
TTC
Ajouter au panier
Machine
RAS-B13N3KVP-E
Emplacement: 406
Voir toutes les pièces de RAS-B13N3KVP-E
Réinitialiser
Pièces climatisations TOSHIBA
×
Ajouter au panier